您现在所在位置:网站首页>新闻快讯更新时间:2021-12-21
最近一段时间,外卖平台饿了么在商标注册上又碰了钉子。
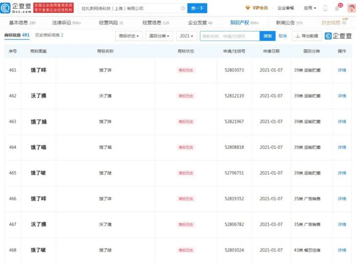
今年年初,饿了么关联公司拉扎斯网络科技(上海)有限公司向商标局申请注册了一批防御商标:“饿了伐”“饿咧么”“饿了咩”“饿了啵”“饿不饿”“饿鸟撒”“饿了喵”……商标数量达30件,国际分类涉及35类广告销售、39类运输贮藏及43类餐饮住宿。这些商标每一件都围绕着“饿了么”商标,采用了“饿了么”的各种方言及谐音。对商标有所了解的网友应该看得出来,这一系列商标均属联合商标。

与名牌商标类似的商标就是联合商标。注册联合商标的目的是在主商标周围建起一道防火墙,阻止他人注册和使用近似商标,使动机不纯者无机可乘。同时这些商标又能起到商标的储备作用,一旦市场需要,可以主动方便地调整商标策略,推出备用商标。不过,因为联合商标注册以后不一定使用,因此一般不易被批准注册。饿了么注册的这一批联合商标就是如此。

据企查查APP显示,饿了么于年初注册的这批联合商标,如今的商标状态已经全部显示为无效,看来在商标战略性布局上,饿了么还有很长的路要走。
无论是联合商标也好,防御商标也好,饿了么在现有使用的注册商标基础上,进行保护防御性商标注册,是企业很常见的商标布局手段。饿了么之所以忙着保护自己的商标,只因其商标此前曾多次被人“碰瓷”。
树大招风,名高引谤,与饿了么一字之差的“饿了吗”就是一个很好的例子。2020年,饿了么关联公司拉扎斯网络科技(上海)有限公司就曾起诉饿了吗餐饮管理(北京)有限公司不正当竞争,该案于同年12月发布判决书,北京市朝阳区人民法院判决被告饿了吗公司立即变更其企业名称,变更后的企业名称中不得含有与“饿了么”相同或者近似的文字,同时赔偿原告饿了么关联公司合理费用1万元。如今,曾经的“饿了吗”已经变更企业名称为“御膳房”。

一边是不正当竞争官司维权成功,另一边的商标异议维权案却没那么容易搞定了。
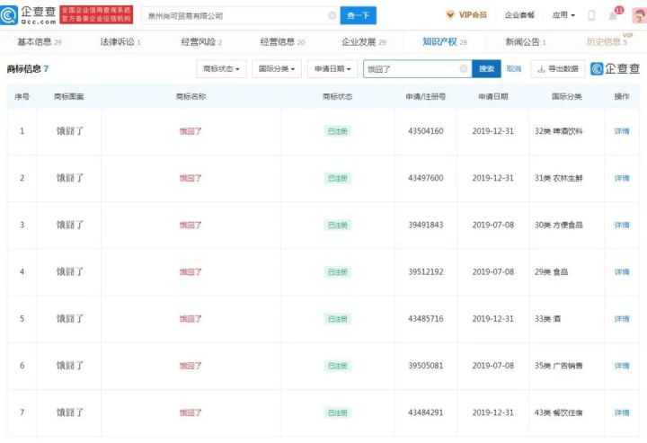
2019年,一家名为泉州尚可贸易有限公司的企业申请注册了“饿囧了”系列商标,国际分类涉及餐饮住宿、广告销售、酒、食品、方便食品、农林生鲜、啤酒饮料。“饿囧了”商标一出现,饿了么公司便迅速做出反应,向商标局对“饿囧了”商标提出商标异议。
今年9月,商标局对该案作出裁决,判定被异议商标与引证商标“双方商标在文字构成、汉字含义、整体外观上都有一定区别,因此未构成使用于类似商品上的近似商标。”目前,“饿囧了”商标的商标状态均为“已注册”。

公开资料显示,饿了么关联公司拉扎斯网络科技(上海)有限公司商标信息有2893条,然而就是这接近3000件商标,依然没有防住“饿囧了”商标注册成功。

商标的防御性布局关系到品牌的发展,与其在遭遇侵权行为之后再做出反击,不如在企业建设之初就提前做好知识产权布局,实施完备的商标防御战略,才能让我们的品牌更好地得到长远发展。