您现在所在位置:网站首页>新闻快讯更新时间:2023-07-04
华为申请疑似问界LOGO商标
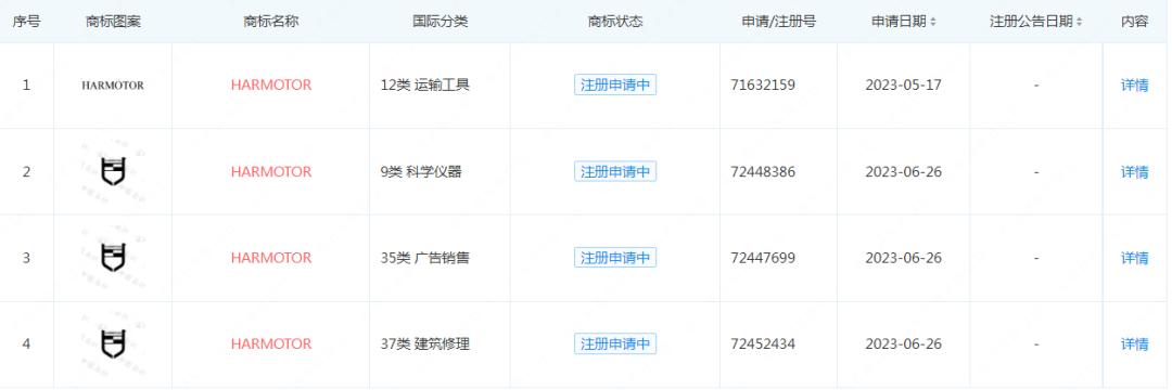
近日,华为技术有限公司申请注册“WENJIE”图片商标,国际分类为科学仪器、建筑修理等。此外,该公司还申请多个“HARMOTOR”图片商标,国际分类为科学仪器、广告销售、运输工具等。目前,上述商标状态均为申请中。值得一提的是,两图标除字母不同外,形状差别不大。

此前,华为已成功注册多个“问界”商标,尚不知此次申请的图标是否为问界相关LOGO。有网友表示在相关微博下评论称“高端车系”“问界高端化”等等,似乎华为申请此商标是要推出高端车型。
据了解,AITO问界是华为和赛力斯共同打造的智能汽车品牌,其仅用15个月,就实现了10万辆汽车下线的优秀战绩,成为发展速度最快的新能源汽车品牌。

在近日的AITO问界M5智驾版用户体验日上,新款问界M5标准版上市。面对新手司机普遍头痛的“停车难”问题,问界M5标准版升级了智慧泊车功能,新增了遥控泊车功能。问界M5标准版共推出两驱和四驱版两款配置车型,售价分别为25.98万和27.98万元,其中四驱版相比2022款价格降低了1万元,新车将于8月启动交付。
市场未动商标先行
我们从华为商标布局战略中能够发现,在产品上架前就做好了商标申请工作,这也为有可能出现的侵权与被侵权行为提前做出保障。

商标的重要性不言而喻,代表着企业的名誉、信誉、声誉,也是企业一笔重要的无形资产。若要等到企业发展红火才发现自己的商标被他人山寨,被他人抢注,市场也被瓜分殆尽,后悔也就晚了,本来早就可以拥有,却失之交臂,最终企业多年的苦心经营付诸流水,这也是在提醒各位企业老板,商标注册一定要趁早!
如果您的企业还没有进行商标布局的话,可以联系四海龙,为您提供从申请到诉讼的知识产权一站式综合服务。
【温馨提示】文中部分图片及素材来源网络,版权归属原作者,若有不妥,请联系告知修改或删除,谢谢!