您现在所在位置:网站首页>新闻快讯更新时间:2023-05-08
《人生路不熟》票房破5亿
随着经济慢慢复苏,电影行业也迎来了一个小高潮。2023年五一档,电影市场异常火爆,业界称之为“史上最挤五一档”。
据数据显示,截至5月3日24时,2023年“五一档”电影总票房超15亿元人民币,跻身中国影史“五一档”票房第三位。其中,《人生路不熟》作为“五一档唯一喜剧”,其以5.49亿元档期票房的成绩,拿下五一档票房冠军。《长空之王》《这么多年》分别以4.62亿、1.72亿分列五一档票房第二、第三。

而通过进一步检索发现,《长空之王》《人生路不熟》这两部影片的出品方均为上海亭东影业,而该公司的大股东是韩寒。可以说,这个五一,韩寒导演真的是赢麻了。而在商标布局保护方面,亭东影业也是“快人一步”。
“人生路不熟”已申请相关商标
据查询,4月18日,上海亭东影业申请注册“人生路不熟”相关商标,国际分类涉及服装鞋帽等,当前商标状态为申请中。

事实上,电影名称作为作品名称,一般都较为简短,难以具有独创性从而获得著作权法的保护。为此,电影制作方想将电影名称的独用权据为己有,通常就采取注册商标的方式获得商标专用权。
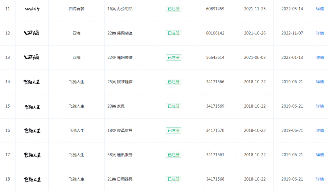
在商标局官网中还可以查到,自2015年成立后,亭东影业的商标布局就已经开始了。其对《乘风破浪》《飞驰人生》《四海》等热门电影,均进行了提早布局和保护,商标类别不仅涵盖电影的宣传和发行,对电影可能涉及的IP衍生品也做好了完善的注册。

对于电影制作方来说,积极注册商标可以有效防止他人抢注和仿冒。如果没有提前进行商标布局,一旦涉及侵权诉讼,将会影响电影的发行和上映,在维权时也显得力不从心。
而作为我们企业来说也一样,在产品上市前夕,就要做好相应的商标布局工作,这样不仅是对品牌发展的有力支撑,更是面对侵权行为的致命武器。如果您的企业或品牌还没有做好相应的商标布局工作,可以联系四海龙,为您提供知识产权一站式综合服务。
【温馨提示】文中部分图片及素材来源网络,版权归属原作者,若有不妥,请联系告知修改或删除,谢谢!